Dolar

44,6144

Euro

52,4639

Altın

6.812,73

Bist

14.073,79

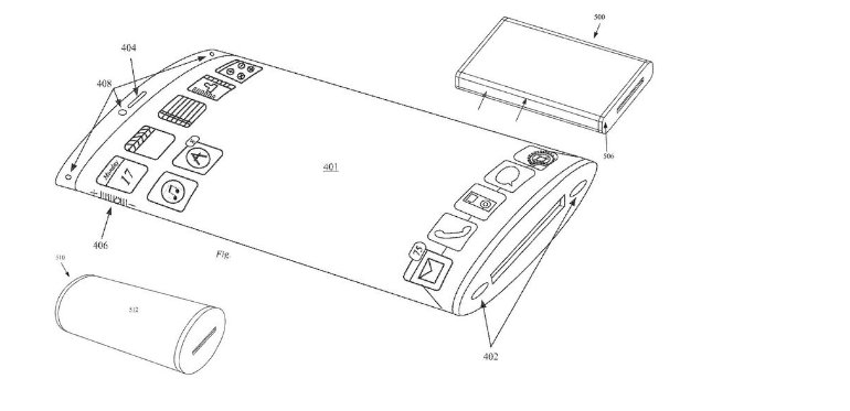
Apple 'kıvrımlı cam' ile geliyor

Samsung'un bir süredir kullandığı kıvrımlı cam ekranları artık Apple'da ürünlerinde kullanacak.

11 Yıl Önce Güncellendi

2016-06-20 10:10:27

Apple 'kıvrımlı cam' ile geliyor

Güney Koreli teknoloji şirketi Samsung ile sıkı bir rekabet içerisinde olan ABD merkezli Apple, rakibini kızdıracak bir hamle yaptı. İLK SAMSUNG KULLANDI

Apple, ilk olarak Samsung'un cihazlarında kullanmaya başladığı kıvrımlı cam ekran patenti aldı.

İPHONE 8'DE KULLANILABİLİR

Eylül ayında tanıtılması beklenen iPhone 7'de böylesine bir değişiklik beklenmiyor ancak, 2017 yılında tanıtılması beklenen iPhone 8'de kıvrımlı cam ekranların kullanılacağı iddiaları teknoloji dünyasında konuşuluyor.

app

Yorum Yap

İLGİNİZİ ÇEKEBİLİR
SON VİDEO HABER

Medipol'den ameliyatsız parkinson tedavisi

Haber Ara